Schraven Trading B.V. Visiting address Looveer 2a, 6851 AJ Huissen, The Netherlands Contact details Model.Company.MailAddress +31 (0) 26 326 65 20
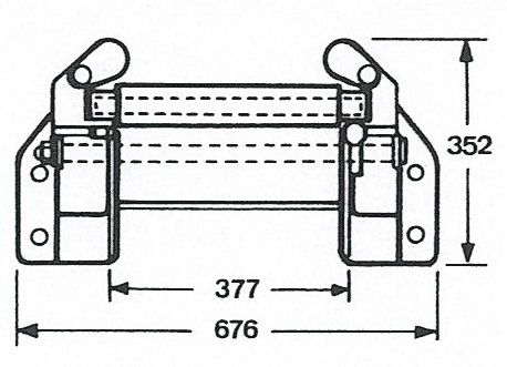
Various guide rollers, both 2 and 4 rolls. Condition roller fairleads: used Make an appointment for a free inspection RequestInvoice Quotation form Please fill in the form below Print